|
The 311 is one of several of Don's modules dealing with light control. This portion of a catalog describes the 311 and these related modules.

I am helping MEMS with their Dual Projector Controller and am using the 311 as the SCR controller instead of the 320. I brought up and verified the 311.

The Master control sets the maximum range for the individual 10 channels and can be switched to an external 0 to 15V CV. Each channel provides a variable output via the rear of the module to an external SCR driver. The toggle switches select external CV control inputs instead of the controls and the Master control has no effect.
The main PCB contains all the circuitry of the module and is highly duplicated for the 10 channels.

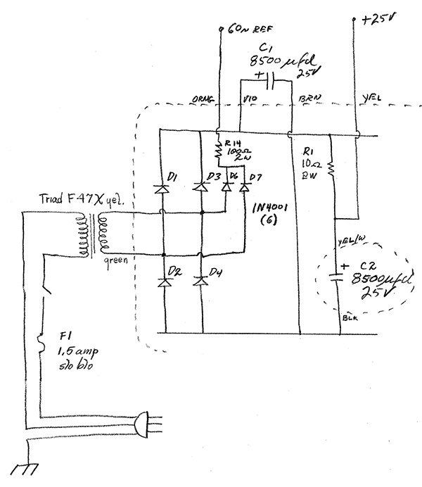
The 311 operates by providing a phase controlled pulse to turn on an SCR. SCRs operate on DC so are driven by a bridge rectifier and provide DC partial half-sine waveforms to the load, in this case lights. The 311 requires a 120 Hz half-sine waveform provided by the linear power supply. This partial schematic of the 115A power supply shows the extra two diodes to provide the 120 Hz half-sine reference waveform (labeled 60~ REF).

Operation
These waveforms show one of the output channels from the 311. The Master control is set to maximum so the output pulse can shift over the entire cycle. This scope image shows the 120 Hz half-sine input (yellow), the 311 channel output (cyan) and a 60~ Ref Out (magenta) for driving other modules. The channel control is off so there is no output pulse.

As the control is slowly rotated towards maximum, the pulse shifts to the beginning of the half-sine waveform. The SCR turns on at the pulse, so in this scope image is on for a very short duration.

As the control increases the pulse shifts more towards the beginning so the SCR is on longer.

And longer.

And finally on maximum where the SCR is on for the full duration of the half-sine. The trimmer on the 311 sets this maximum limit.

This scope image shows a 0 to 12V ramp CV (my bench generator won't go to 15V) shows how the pulse output transitions from late in the 120 Hz half-sine cycle to earlier.

The description says "Diagrams of suggested SCR circuits are provided." Unfortunately, none seemed to have survived. Today, SCRs are not typically used for AC lighting controls which now use triacs. However, I wanted to use SCRs for period authenticity. These SCR circuits are live mains circuits so have to be electrically isolated from the 311. In the day of this design, the method would typically have been a pulse transformer. Now one can buy opto-SCR drivers and opto-triac drivers.
I couldn't find any opto-SCR drivers and an opto-triac driver will work fine on DC. This worked fine but I again wanted to use a pulse transformer for period authenticity. I found one reasonably priced which has much wider pin spacing which provides better physical isolation. Since the SCR is turning on mid-AC cycle (non-zero crossing) it will generate some noise spikes so the AC input needs some filtering.
I will leave it up to MEMS to show the 311 in operation.