|
I built a 292C Quad Low Pass Gate V1 module for someone else. They sent me a complete kit of parts and I assembled and tested the module. Many of the components are sourced through Mouser but specialized parts, panel, and knobs have specific sourcing requirements.

Assembly of PCB2 is straight forward. As with all these modules that interconnect with square pins, I fully seat the pins into the housing, mate the two PCBs together, then solder the pins. The square pin header sits off the board but the pins fully mate.

I chose to route the wires to the pads from the bottom of the PCB and I daisy chained the ground to the 9 jacks.

I matched the vactrols so the channels would be near equal. I powered the vactrol LED from +15 volts through a 2K2 resistor and measured the output resistance. The resistance slightly changes as the vactrol warms with the LED current so I used the initial resistance and selected four that were close in value. The two pads near the ferrite beads connect the Noisy ground to the Quiet ground if needed.

This photo shows the completed two PCB module.

Operation
I had high frequency oscillations on all four sections at various settings of the controls. The QLPG design is known to oscillate due to the switching circuitry topology on the output op-amp.

A quick cursor check shows an 820 nS period or a 1.22 MHz oscillation

I added 22pF capacitors on the output op-amp to quiet things down.


The trimmers set an offset for the controls to match the channels. I set the trimmers to minimum, the controls to mid-position, set the mode to lopass, and monitored all four outputs. The gain through each section differed.

I determined which section had the lowest gain and adjusted the other trimmers to match the it. Note in this image all four channels are shown superimposed so the matching between channels is quite good.

A check of the different control settings and input frequency showed good section to section matching from 20 Hz (left) up to 8 KHz (right).

By 12 KHz channel section B began to not track as well in lopass mode (left) but is reasonably matched in both mode (right).

V3
V2 left off the LEDs and the top two rows of jacks were aligned vertically. V3 is essentially the same as V1 except it all fits on one PCB. The current BOM is V2 which is confusing.

I saw no oscillations on V3 which could indicate the new layout has improved that issue. I matched the vactrols which resulted in very good channel to channel matching eliminating the gain issues I saw on the previous version where I didn't match vactrols. I adjust one channel to maximize bandwidth and then adjust the other channels to match. This scope image shows the matching between channels.

292C Circuit Observations
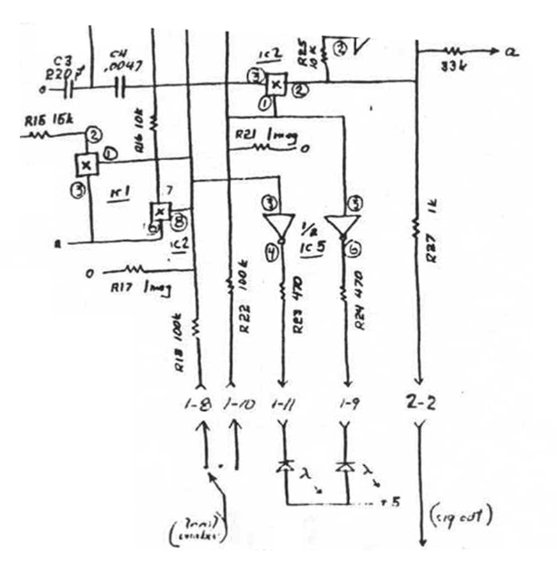
This portion of the schematic shows the mode selection switch. The "local enable" is a 0 or 5V signal. Remote disables the front panel control and mode switches so that the mode and CV are controlled remotely. The signal in and out are also available.
None of the non-MEMS clones implement this portion of the schematic. The switches in those simply turns the LED on. However, this portion of the schematic does not function correctly. When the mode switch is set to combo, the input to the CMOS switches and 74LS05 are pulled down by R17 and R21 to a logic 0. That disables both LEDs, at least that is what the thought was. A 74LC05 has 400 uA of current and this scheme ends up with the input to the 74LS05 at about 1.6V or so which is realized as a logic 1 so the LEDs are always on. The maximum resistance for pulling down an LSTTL input is 2K without any noise margin, or 1K with 400 mV of noise margin. These resistors are 1M and 100K. It's as if Don designed this for a CD4069 CMOS gate. Tthe 74LS05 on the side for IC 5,6 looks like it was written over something that was erased. A CD4069 doesn't have the current sink capability to drive the LEDs. It can sink guaranteed a maximum of 0.500 mA which would require a 6K8 resistor, not a 470R. It's as if Don used a CMOS part which couldn't drive the LEDs so replaced it with a LSTTL part and didn't do the required modifications on the schematic.
For this to function, R17, R18, R21, and R22 can be set to 1K for the LEDs to function correctly. The remote mode lines have a 1K in series to to meet the required input voltage to set either lowpass or gate is at least 4.002V at 2.002 mA. A TTL gate will not drive this because of the 4.002V requirement and a CMOS gate cannot drive this because of the 2.002 mA requirement.

Another version of the schematic is on the internet which shows some extra components which indeed were laid out on the original PCB. The two 100 pF capacitors are there to roll off the high frequency response for stability. The 220 pF, 30K, and 180K are a bit of a mystery to me. When in combo mode all three switches are open. The - input voltage on IC7 is the same as the output since this is just a voltage follower configuration. The circuit is dominated by the 100 pF and R14. The vactrol filter is essentially bypassed by the 220 pF and 180K resistor resulting in high frequency bleed. I'm not sure why anyone would want this so I am a bit baffled by why these parts were added. One never knows if these were part of the original design and modified out, or were a modification for a specific customer on need.

If anyone has a different interpretation of these two portions of the schematic let me know.